これが、

 

アンティーク 腕時計

 

 

こう。

 

アンティーク 腕時計

 

ラグが自由に動く、フレキシブルラグ。別名スウィングラグ。
ラグが動くから、何か便利なことがあるわけでもない。一応、稼働するラグを利用して手首のサイドに着用する事で、自動車のステアリングを握ったまま文字盤を視認できるため、「ドライバーズウォッチ」とも言われることも。ただ実際にそうしている人がいるかどうかは不明。
それでも、ラグを可動式にすることで生まれるスタイリッシュなデザインやギミック性が、特別な魅力を形成しているのは確かです。
ブランドの異なるこちらの3本は共通して、とあるウォッチケース専業メーカーが手掛けたケースが採用されています。それが今回フィーチャーするウォッチケースメーカー〈E.B.E.〉。名前以外の情報はほぼ皆無。ただ言えることは、英国市場向けのモデルのみ手掛けていること、そして「フレキシブルラグ × スクリューバック」のパターンでケースを作っていたこと。それだけです。

 

 

アンティーク 腕時計

 

ケース素材は、現在のところステンレススチール製か9Kの金無垢が確認されています。スクリューバックにコインエッジが配されているのも特徴のひとつ。その内側にはこのような刻印が見られます。

 

 

アンティーク 腕時計

「前方からムーブメントを取り出し、ベゼルを外して下さい」

"REMOEVE MOVEMENT FROM FRONT AND UNSCREW BEZEL"

 

このメッセージは、まずもって作業者がこのスクリューバックを取り外した状態からスタートするということを示唆しています。

 

アンティーク 腕時計

この状態から、先のメッセージに従ってムーブメントを取り出します。

 

 

アンティーク 腕時計

するとこのように、ムーブメントがベゼルとともにミドルケースから離脱します。
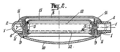
注目したいのは、ムーブメントに纏わせたケーシングリング(中胴)にスクリューのネジ山が切ってある点。下の部分はベゼルで、このベゼルは裏蓋と同様にネジ山が切られたねじ込み式となっており、”UNSCREW”することでムーブメントから外すことができます。
この構造は、〈以前の記事〉でご紹介したロレックス初期のオイスターケースと同様の構造(リューズ部分は除く)となっています。一般的なスクリューバックケースはネジ山がミドルケースに切ってありますが、ケーシングリング(中胴)にネジ山を切り、ミドルケース内でベゼルと裏蓋の双方でねじ込むことでケース内部の気密性を保つという、二重構造になっているのが分かります。

 

アンティーク 腕時計

 

アンティーク 腕時計

 

ロレックスはコスト削減のため1940年代以降、この緻密な構造を持つケースの製造をやめましたが、E.B.E.社はかろうじてこの構造を守り続けていた数少ないメーカーということになります。
華麗なフレキシブルラグと、タフなオイスターケース。この2つの良いところ取りをしたE.B.E.ケースは、イギリス市場向けの腕時計にしか見られない特別なもの。スミスのデニソンケース然り、このような英国時計の個性は、地元のケースメーカーを積極的に採用するという姿勢によって生み出されています。
決して派手ではありません。しかし、この奥ゆかしさは日本のものづくりにも共通する感性があるように感じます。僕がイギリスの腕時計にとても惹かれる理由はそこにあるのかもしれません。

 

 

アンティーク 腕時計